Productos más vistos
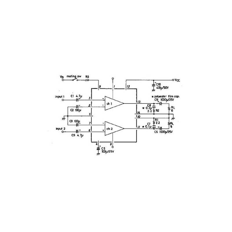
Amplificador de 2x10W
Este producto ya no está disponible
Advertencia: ¡Últimos artículos en inventario!
Disponible el:
| Diseño | Esquema |
| Visualización | Sin visualización |
| Tensión de alimentación | Ver datasheet |
| Electrónica | Analógica |
| Foto | No |


